SA49減速機銘牌參數說明解讀含義:有關型號描述的詳細情況及其他信息可以參閱本業附件下載中的SA49減速機選型樣本。
SA49-BEJB1.1KW-4P-17.62-M2-180°
SA:系列代號
49:減速機規格代號
BEJB:電機
1.1KW:電機功率
4P:電機級數
17.62:減速機傳動比
M2:減速機安裝位置
180°:接線盒位置

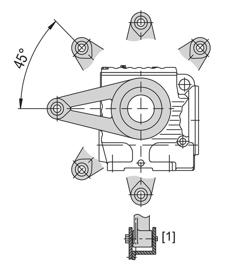
SA49減速機扭力臂安裝:
裝配時不得對扭矩支架用力過猛,固定扭矩臂時應采用強度為8.8級的螺栓。下圖為SA49減速機的扭力臂安裝示意圖:兩面均安裝支架。齒輪減速電機

減速機型號 | 螺栓 | 擰緊扭矩 |
SA39減速機 | 4xM6x16-8.8 | 11Nm |
SA49減速機 | 4xM8x20-8.8 | 25Nm |
SA59減速機 | 6xM8x20-8.8 | 25Nm |
SA69減速機 | 8xM12x25-8.8 | 86Nm |
SA79減速機 | 8xM12x35-8.8 | 86Nm |
SA89減速機 | 8xM16x35-8.8 | 210Nm |
SA99減速機 | 8xM16x35-8.8 | 210Nm |
SA49減速機電機安裝和電機安裝位置的調整:
均勻調整螺母將電機安裝平臺固定到需要的位置。如要將SA49減速機的位置調整到最低,則在必要情況下可以拆除吊裝螺栓/吊耳;對于損傷的漆面部位進行修補。自鎖減速機
將電機與電機安裝平臺對準(軸端不許對齊)并固定。
將輸入端部件安裝于輸入端的軸端面和電機軸,將輸入部件、軸端與電機軸的位置相互校正;如果必要可以對電機位置進行再次校正。
裝上傳動部件(V型皮帶、鏈條...)并均勻調節電機安裝平臺使其預張緊。期間不得用力過猛,否則將會擰壞電機安裝平臺和螺桿。
擰緊非調整螺母以固定螺桿。伺服電機連接減速機

SA49減速機型號:
WSA47-Y0.12KW,WSA47-Y0.18KW,WSA47-Y0.25KW,WSA47-Y0.37KW,WSA47-Y0.55KW,WSA47-Y0.75KW,WSA47-Y1.1KW,WSA47-Y1.5KW,WSA47-Y63M4,WSA47-Y71M4,WSA47-Y80M4,WSA47-Y90M4,WSA47-YB63M4,WSA47-YB71M4,WSA47-YB80M4,WSA47-YB90M4,WSA47-YDP63M4,WSA47-YDP71M4,WSA47-YDP80M4,WSA47-YDP90M4,WSA47-YE63M4,WSA47-YE71M4,WSA47-YE80M4,WSA47-YE90M4,WSA47-YEJ63M4,WSA47-YEJ71M4,WSA47-YEJ80M4,WSA47-YEJ90M4,WSA47-YEJB63M4,WSA47-YEJB71M4,WSA47-YEJB80M4,WSA47-YEJB90M4,WSA47-YP63M4,WSA47-YP71M4,WSA47-YP80M4,WSA47-YP90M4,WSA47-YPB63M4,WSA47-YPB71M4,WSA47-YPB80M4,WSA47-YPB90M4,WSA47-YPE63M4,WSA47-YPE71M4,WSA47-YPE80M4,WSA47-YPE90M4,WSA47-YS63M4,WSA47-YS71M4,WSA47-YS80M4,WSA47-YS90M4,WSA47-YVB63M4,WSA47-YVB71M4,WSA47-YVB80M4,WSA47-YVB90M4,WSA47-YVP63M4,WSA47-YVP71M4,WSA47-YVP80M4,WSA47-YVP90M4,WSA47-YVPEJ63M4,WSA47-YVPEJ71M4,WSA47-YVPEJ80M4,WSA47-YVPEJ90M4,NSA47-Y0.12KW,NSA47-Y0.18KW,NSA47-Y0.25KW,NSA47-Y0.37KW,NSA47-Y0.55KW,NSA47-Y0.75KW,NSA47-Y1.1KW,NSA47-Y1.5KW,NSA47-Y63M4,NSA47-Y71M4,NSA47-Y80M4,NSA47-Y90M4,NSA47-YB63M4,NSA47-YB71M4,NSA47-YB80M4,NSA47-YB90M4,NSA47-YDP63M4,NSA47-YDP71M4,NSA47-YDP80M4,NSA47-YDP90M4,NSA47-YE63M4,NSA47-YE71M4,NSA47-YE80M4,NSA47-YE90M4,NSA47-YEJ63M4,NSA47-YEJ71M4,NSA47-YEJ80M4,NSA47-YEJ90M4,NSA47-YEJB63M4,NSA47-YEJB71M4,NSA47-YEJB80M4,NSA47-YEJB90M4,NSA47-YP63M4,NSA47-YP71M4,NSA47-YP80M4,NSA47-YP90M4,NSA47-YPB63M4,NSA47-YPB71M4,NSA47-YPB80M4,NSA47-YPB90M4,NSA47-YPE63M4,NSA47-YPE71M4,NSA47-YPE80M4,NSA47-YPE90M4,NSA47-YS63M4,NSA47-YS71M4,NSA47-YS80M4,NSA47-YS90M4,NSA47-YVB63M4,NSA47-YVB71M4,NSA47-YVB80M4,NSA47-YVB90M4,NSA47-YVP63M4,NSA47-YVP71M4,NSA47-YVP80M4,NSA47-YVP90M4,NSA47-YVPEJ63M4,NSA47-YVPEJ71M4,NSA47-YVPEJ80M4,NSA47-YVPEJ90M4,ASA47-Y0.12KW,ASA47-Y0.18KW,ASA47-Y0.25KW,ASA47-Y0.37KW,ASA47-Y0.55KW,ASA47-Y0.75KW,ASA47-Y1.1KW,ASA47-Y1.5KW,ASA47-Y63M4,ASA47-Y71M4,ASA47-Y80M4,ASA47-Y90M4,ASA47-YB63M4,ASA47-YB71M4,ASA47-YB80M4,ASA47-YB90M4,ASA47-YDP63M4,ASA47-YDP71M4,ASA47-YDP80M4,ASA47-YDP90M4,ASA47-YE63M4,ASA47-YE71M4,ASA47-YE80M4,ASA47-YE90M4,ASA47-YEJ63M4,ASA47-YEJ71M4,ASA47-YEJ80M4,ASA47-YEJ90M4,ASA47-YEJB63M4,ASA47-YEJB71M4,ASA47-YEJB80M4,ASA47-YEJB90M4,ASA47-YP63M4,ASA47-YP71M4,ASA47-YP80M4,ASA47-YP90M4,ASA47-YPB63M4,ASA47-YPB71M4,ASA47-YPB80M4,ASA47-YPB90M4,ASA47-YPE63M4,ASA47-YPE71M4,ASA47-YPE80M4,ASA47-YPE90M4,ASA47-YS63M4,ASA47-YS71M4,ASA47-YS80M4,ASA47-YS90M4,ASA47-YVB63M4,ASA47-YVB71M4,ASA47-YVB80M4,ASA47-YVB90M4,ASA47-YVP63M4,ASA47-YVP71M4,ASA47-YVP80M4,ASA47-YVP90M4,ASA47-YVPEJ63M4,ASA47-YVPEJ71M4,ASA47-YVPEJ80M4,ASA47-YVPEJ90M4,SSA47-Y0.12KW,SSA47-Y0.18KW,SSA47-Y0.25KW,SSA47-Y0.37KW,SSA47-Y0.55KW,SSA47-Y0.75KW,SSA47-Y1.1KW,SSA47-Y1.5KW,SSA47-Y63M4,SSA47-Y71M4,SSA47-Y80M4,SSA47-Y90M4,SSA47-YB63M4,SSA47-YB71M4,SSA47-YB80M4,SSA47-YB90M4,SSA47-YDP63M4,SSA47-YDP71M4,SSA47-YDP80M4,SSA47-YDP90M4,SSA47-YE63M4,SSA47-YE71M4,SSA47-YE80M4,SSA47-YE90M4,SSA47-YEJ63M4,SSA47-YEJ71M4,SSA47-YEJ80M4,SSA47-YEJ90M4,SSA47-YEJB63M4,SSA47-YEJB71M4,SSA47-YEJB80M4,SSA47-YEJB90M4,SSA47-YP63M4,SSA47-YP71M4,SSA47-YP80M4,SSA47-YP90M4,SSA47-YPB63M4,SSA47-YPB71M4,SSA47-YPB80M4,SSA47-YPB90M4,SSA47-YPE63M4,SSA47-YPE71M4,SSA47-YPE80M4,SSA47-YPE90M4,SSA47-YS63M4,SSA47-YS71M4,SSA47-YS80M4,SSA47-YS90M4,SSA47-YVB63M4,SSA47-YVB71M4,SSA47-YVB80M4,SSA47-YVB90M4,SSA47-YVP63M4,SSA47-YVP71M4,SSA47-YVP80M4,SSA47-YVP90M4,SSA47-YVPEJ63M4,SSA47-YVPEJ71M4,SSA47-YVPEJ80M4,SSA47-YVPEJ90M4,GSA49-Y0.12KW,GSA49-Y0.18KW,GSA49-Y0.25KW,GSA49-Y0.37KW,GSA49-Y0.55KW,GSA49-Y0.75KW,GSA49-Y1.1KW,GSA49-Y1.5KW,GSA49-Y63M4,GSA49-Y71M4,GSA49-Y80M4,GSA49-Y90M4,GSA49-YB63M4,GSA49-YB71M4,GSA49-YB80M4,GSA49-YB90M4,GSA49-YDP63M4,GSA49-YDP71M4,GSA49-YDP80M4,GSA49-YDP90M4,GSA49-YE63M4,GSA49-YE71M4,GSA49-YE80M4,GSA49-YE90M4,GSA49-YEJ63M4,GSA49-YEJ71M4,GSA49-YEJ80M4,GSA49-YEJ90M4,GSA49-YEJB63M4,GSA49-YEJB71M4,GSA49-YEJB80M4,GSA49-YEJB90M4,GSA49-YP63M4,GSA49-YP71M4,GSA49-YP80M4,GSA49-YP90M4,GSA49-YPB63M4,GSA49-YPB71M4,GSA49-YPB80M4,GSA49-YPB90M4,GSA49-YPE63M4,GSA49-YPE71M4,GSA49-YPE80M4,GSA49-YPE90M4,GSA49-YS63M4,GSA49-YS71M4,GSA49-YS80M4,GSA49-YS90M4,GSA49-YVB63M4,GSA49-YVB71M4,GSA49-YVB80M4,GSA49-YVB90M4,GSA49-YVP63M4,GSA49-YVP71M4,GSA49-YVP80M4,GSA49-YVP90M4,GSA49-YVPEJ63M4,GSA49-YVPEJ71M4,GSA49-YVPEJ80M4,GSA49-YVPEJ90M4。
SA49減速機生產廠家展示:看廠請聯系微信13827261050,獲取位置,需提前一天預約http://m.personalisedwinelabels.com/product/list-saxiliejiansuji-cn.html




推薦類似型號:S49減速機
關鍵詞:私服電機帶減速機一體機_伺服電機連接減速機_SA系列減速機_私服電機減速機_GSA系列減速機_SA系列減速器_伺服電機連接減速器_私服減速機_私服電機減速器
SA系列減速機型號:SA39減速機,SA49減速機,SA59減速機,SA69減速機,SA79減速機,SA89減速機,SA99齒輪減速電機
SA系列自鎖減速機可配變頻電機,剎車電機,防爆電機,伺服電機,交流電機,直流電機,三相電機,單相電機 0.12KW-22KW之間
如需工程師幫選型,請加微信13827261050,留言告知工程師參數要求
標簽:   SA49減速機 SA47減速機結構圖 SA47減速機數模 SA47減速機樣本 SA47減速機規格